找回密码
 立即注册
澳门威尼斯人
U8
U18
海燕招商
A
蓝盾
e世博
islot.
申博亚洲
澳门银河
B
开云
腾博会
德信
C级广告商
吉祥坊
华体会
查看: 26122|回复: 74

[彩票] 【实战有奖】威尼斯人台湾宾果连挂后稳收,亏损2450止步

[复制链接]

87

主题

2万

回帖

4490

金币

铂金用户

积分
71348

老会员交易勋章魅力达人

发表于 2025-10-6 16:17 | 显示全部楼层 |阅读模式

马上注册,结交更多好友,享用更多功能,让你轻松玩转社区。

您需要 登录 才可以下载或查看,没有账号?立即注册

×
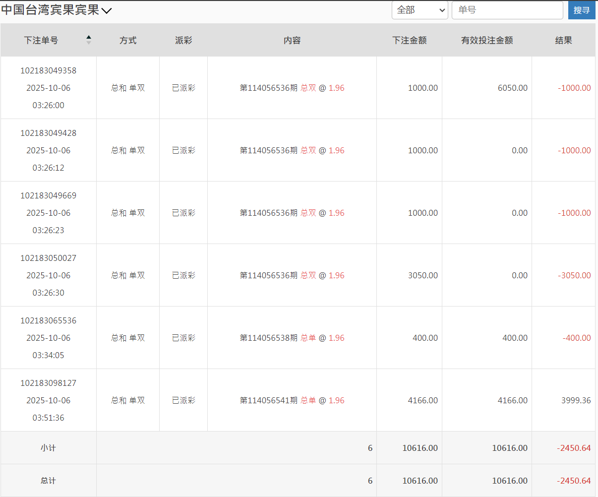
今天下午打了台湾宾果这一轮,整体过程挺曲折,但也算控制住了节奏。大概从下午三点左右开始进场,当时看走势总和“双”连开几期,手痒了,于是轻仓试单。原本打算随便玩玩,结果越看越不对劲,单双频繁切换,让人有点摸不清节奏。4 X7 U  d2 E* l' h9 `7 N
5 |5 `# Y$ Z0 ]0 g7 v; N5 z
这轮总共下了六单,前几把基本都在试探走势。结果连续几期都反着来,尤其是那笔3050的“总双”,被直接吃掉,账面一口气红到三千多。那一瞬间心态确实有点晃,手差点又去补仓。后来想到之前吃亏的经验,强行让自己停手,看完那期结果就去洗了个脸。: p# K, V. E8 V2 d9 _
6 t: e! W6 p0 j) R3 n$ I. K3 x
回来后重新看走势图,发现节奏有点回稳,于是再上两把“总单”试水。最后一单我加到4166,打的第114056541期,终于中回来了3999.36,这口气算是稳了。整盘下来,亏了2450左右,折合人民币不到两千。
9 k9 p3 U1 V/ s5 o% k# e! K( Q8 d$ O$ Q. ^! p9 ^# C( L
账面上虽然是负的,但我个人觉得这轮打得比前几次更“成熟”——不是赢多少的问题,而是我终于没再乱追。这次BBIN那边转入了10616,转出回大厅时剩8165,虽然账面亏损,但过程有节制、心态稳,算是一次小考合格。  N! D/ p% |% O2 Q
2 V& D4 {. p4 \, ~: Z9 A
过去我常常一看挂单就想加码“赢回来”,结果反而输更惨。现在我学会了一件事:赢钱靠机会,止损靠自律。只要不被情绪带走,长期来看反而能少损多赢。' e! @8 i' X% v* C- z9 e

$ @9 J: g9 c, Y7 _! Z$ s; q另外,这轮台湾宾果的走势挺诡异的,总和单双跳得快,没有出现连续7期以上的连号。下午那段时间尤其乱,建议后面玩这盘口的兄弟们注意节奏,不要被短线结果误导。可以像我这样——前几期用小注探路,等走势方向稳定后再加码。2 S: t. U, b6 B& J* {

3 c6 y' U' l" u这次我还特地看了下注明细,总金额10616,有效投注全打满,亏损-2450.64。虽然是红的,但我反而挺高兴,因为这说明我守住了底线:没追加、没爆仓。
  A: ^6 g& R+ z# _  r
, T; |, s3 n- G, [) ^7 k最后总结一句:: K( M' I; r7 Z& h. F4 p
输钱不可怕,乱输才可怕;稳得住,才是真正的赢。  z3 ?6 @# Q: t: K- c
7 I( J. Z9 M+ V/ y
这两天论坛不少人也在分享台湾盘的节奏,我的经验是——宁可打慢,也不要乱节奏。未来几天我会继续观察走势,等连号或规律性区间出来,再考虑加仓。今天就到这,休息一会,晚上再看情况。
/ g1 A- f" c- d3 n
4 ?4 V0 Z- ]% V$ X, V( Y; z QQ20251006-160203.png QQ20251006-160102.png 6 P8 Q+ ]) e+ Y  ?- e

8 o6 V, |) Y1 \# [: m/ C& V! S) `' g) U2 a% N8 T( Q
回复

使用道具 举报

1

主题

4994

回帖

4198

金币

金牌会员

积分
23389

老会员

发表于 2025-10-6 16:22 | 显示全部楼层
楼主亏损了还是要止损,回血了一大半还是挺不错了
回复 支持 反对

使用道具 举报

197

主题

6859

回帖

148

金币

银牌会员

积分
13995

老会员交易勋章

发表于 2025-10-6 17:56 | 显示全部楼层
你还玩这个啊,我是真没玩过这类彩票,是彩票没错吧,止损做到位就好
回复 支持 反对

使用道具 举报

7

主题

1万

回帖

8666

金币

铂金用户

积分
73011

光影行者

发表于 2025-10-6 19:37 | 显示全部楼层
3050那把真够呛,能忍住不补仓已经赢一半,节奏乱时洗脸是个好招
回复 支持 反对

使用道具 举报

3400

主题

4万

回帖

4118

金币

钻石用户

积分
116717

万时之王老会员勤奋勋章交易勋章

发表于 2025-10-6 19:48 | 显示全部楼层
老哥还是低调点吧, 亏损2450, 也是输太多了, 还是要及时收手,真不敢继续了
回复 支持 反对

使用道具 举报

3400

主题

4万

回帖

4118

金币

钻石用户

积分
116717

万时之王老会员勤奋勋章交易勋章

发表于 2025-10-6 19:49 | 显示全部楼层
蔬菜沙拉 发表于 2025-10-6 19:37) g$ m: h1 d- ~  e( G& B9 C1 [
3050那把真够呛,能忍住不补仓已经赢一半,节奏乱时洗脸是个好招
5 d4 d1 b+ j; }5 N
玩菠菜还是量力而行吧, 别玩太大了, 输太多了, 也是很影响心情了。
回复 支持 反对

使用道具 举报

3400

主题

4万

回帖

4118

金币

钻石用户

积分
116717

万时之王老会员勤奋勋章交易勋章

发表于 2025-10-6 19:49 | 显示全部楼层
二电厂哥 发表于 2025-10-6 17:56
5 K4 P- M/ ]" r2 d  l* ?( N; f你还玩这个啊,我是真没玩过这类彩票,是彩票没错吧,止损做到位就好

9 M  O, m% @3 n3 J0 `亏损了2450也是输太多了, 这钱能干很多事的了啊, 也是很遗憾了。
回复 支持 反对

使用道具 举报

3400

主题

4万

回帖

4118

金币

钻石用户

积分
116717

万时之王老会员勤奋勋章交易勋章

发表于 2025-10-6 19:50 | 显示全部楼层
shunlifeiup 发表于 2025-10-6 16:22
( w3 P3 F) q) ?* y  I' Q楼主亏损了还是要止损,回血了一大半还是挺不错了

5 a5 d, F/ j- x; @2 y, H3 V  [损失惨重了呀, 输了这么多, 想回血都是很困难了啊, 还是休息冷静一下吧。
回复 支持 反对

使用道具 举报

376

主题

1561

回帖

2498

金币

铜牌用户

积分
9220

老会员交易勋章

发表于 2025-10-6 21:07 | 显示全部楼层
能够及时做到止损啊 还是很不容易的   及时调整吧!
回复 支持 反对

使用道具 举报

52

主题

2万

回帖

4278

金币

铂金用户

积分
73970

老会员光影行者

发表于 2025-10-7 02:34 | 显示全部楼层
别急着追,理性把握,稳住节奏,总会有赚钱的时候,节制至关重要
回复 支持 反对

使用道具 举报

52

主题

2万

回帖

4278

金币

铂金用户

积分
73970

老会员光影行者

发表于 2025-10-7 02:34 | 显示全部楼层
蔬菜沙拉 发表于 2025-10-6 19:37
; B- S! W; b6 B' c6 j' y) S3050那把真够呛,能忍住不补仓已经赢一半,节奏乱时洗脸是个好招
3 C! V8 G( L0 y( ]
3050那把确实有点狼狈,不过威尼斯人台湾宾果稳住节奏,亏损2450也算是及时止损
回复 支持 反对

使用道具 举报

2396

主题

8万

回帖

6795

金币

海燕硕士

积分
225001

老会员超级精华精华勋章美女勋章勤奋勋章交易勋章万时之王

发表于 2025-10-7 05:46 | 显示全部楼层
输掉了2000多块能够止损离开也是比较理智的一个人吧
回复 支持 反对

使用道具 举报

2396

主题

8万

回帖

6795

金币

海燕硕士

积分
225001

老会员超级精华精华勋章美女勋章勤奋勋章交易勋章万时之王

发表于 2025-10-7 05:46 | 显示全部楼层
whywhy 发表于 2025-10-7 02:34
% n1 A0 N) Q/ [) S  z3 T3050那把确实有点狼狈,不过威尼斯人台湾宾果稳住节奏,亏损2450也算是及时止损 ...
& }  g' T! f! A0 ?
反正自己的节奏要把握好,不然输的就是自己的钱
回复 支持 反对

使用道具 举报

2396

主题

8万

回帖

6795

金币

海燕硕士

积分
225001

老会员超级精华精华勋章美女勋章勤奋勋章交易勋章万时之王

发表于 2025-10-7 05:46 | 显示全部楼层
whywhy 发表于 2025-10-7 02:344 @3 ~9 O) ^1 A6 p2 O6 |" N2 n
别急着追,理性把握,稳住节奏,总会有赚钱的时候,节制至关重要
$ h; r5 a% n+ @! f5 V
这个节奏导致的亏损也是没有办法的事,毕竟输了这么多
回复 支持 反对

使用道具 举报

2396

主题

8万

回帖

6795

金币

海燕硕士

积分
225001

老会员超级精华精华勋章美女勋章勤奋勋章交易勋章万时之王

发表于 2025-10-7 05:46 | 显示全部楼层
莫扎特06 发表于 2025-10-6 19:498 \2 u, s! }( I  l; S- H3 I
亏损了2450也是输太多了, 这钱能干很多事的了啊, 也是很遗憾了。

# x' E: _$ f* t& n( f: H输的太多也是要想办法把它搞回来,不然也是难受
回复 支持 反对

使用道具 举报

您需要登录后才可以回帖 登录 | 立即注册

本版积分规则

广告合作|福利汇|论坛简介|钱包教程|手机版|小黑屋|Archiver|海燕论坛

快速回复 返回顶部 返回列表