找回密码
 立即注册
澳门威尼斯人
U8
U18
海燕招商
A
蓝盾
e世博
islot.
申博亚洲
澳门银河
B
腾博会
德信
C级广告商
吉祥坊
查看: 21573|回复: 68

[彩票] 【实战有奖】今天到腾博会玩了彩票赢了好几十

[复制链接]

1214

主题

3万

回帖

1355

金币

铂金用户

积分
96072

老会员交易勋章光影行者

发表于 2025-11-24 21:25 | 显示全部楼层 |阅读模式

马上注册,结交更多好友,享用更多功能,让你轻松玩转社区。

您需要 登录 才可以下载或查看,没有账号?立即注册

×
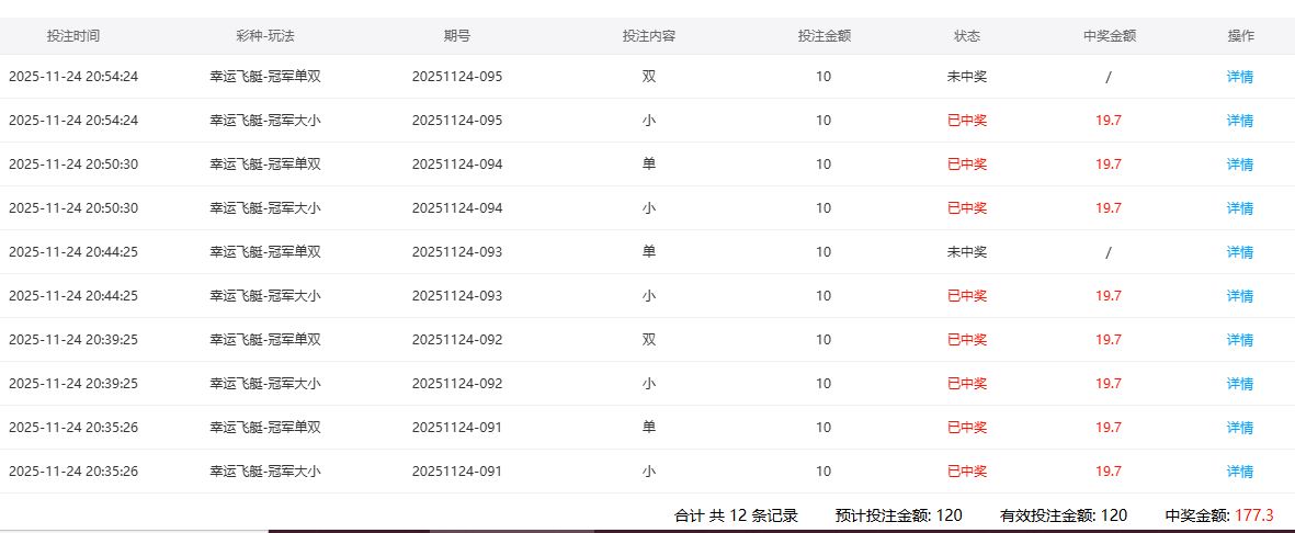
      今天到腾博会玩了一下彩票了啊。实在是一个好的运气了啊。今天就赢了不少的啊。也是非常的开心的啊。今天下注了120的流水,竟然是的了177的金额,所以我算是赢了57大洋的啊。实在是非常的好的啊。我也是很满意的啊。
; `8 i" `5 @$ ^6 j- l7 P6 I- {
# c4 s" e2 ^' n3 \# U      今天呢,我就是去玩了这个幸运飞艇的啊。也是玩的冠军的位置了啊。% K* G2 I% v7 l3 Q5 ^3 L( W0 c" Z
      第一期下注的是大和单的一个方向了啊。每个下注了10元了 啊 。结果出来了。是小和单了啊。所以我的投注也是一红一黑了啊。。所以也是没有什么的啊。反正也是不输了啊。: D  [6 t& m+ C1 B' J7 z" a
      第2期了啊。我就是下注了小和单了啊。下注了10元一个的啊。结果呢,也是真的是很不错的啊。竟然是一个2红了啊这样我就赢了20了啊。实在是非常的不错的啊。
+ C" T# U1 d' K. R     第3期呢,我就是下注了小和双的啊。一共下注了20了 。结果出来,竟然是又对了啊。我又是一个2红了啊。我又盈利了20大洋了 这样就一共赢了40啦 。实在是很不错的啊。我也是很满意的啊。1 \9 N/ z% _+ ^4 x
     第4期开始,我就没有什么心理压力了 。我继续下注。我买小和单,每个10元。结果出来,是小双了。于是我就是又来了一个一红一黑的结果。反正就是平局,我是没有输的啊。4期下来,我还是赢了40了啊。* r& F/ m: D5 ^) n9 J5 ^
     第5期呢,我去买小和单了。还是每个10元。这次运气又是很好的。我又是一个2红了 啊。于是我的盈利就来到了60了啊。是只是非常爽了啊。我实在是没有想到今天的路子就是按照我的思想来的啊。
; m( w5 r; a: t: R, M1 T! f" D     因为打得比较顺,我就没有注意期数,没有注意流水。就继续搞了一期。第6期,我买了小和双的了。结果出来了,是小单。所以我的投注是一红一黑的啊。反正这把没有输。那么今天我下注了12手,中了9手,净胜6手,实在是很理想的一个结果了啊。
$ ?9 k( i. K; t+ c1 _     最终我的盈利是57元多,是因为有抽水的原因了啊。之所以能赢,归根结底,还是运气好。( Z" [, \0 t) K8 `  u
99.JPG ! e& _9 I# w1 t
回复

使用道具 举报

102

主题

6390

回帖

2606

金币

金牌会员

积分
20822

老会员

发表于 2025-11-24 21:30 | 显示全部楼层
楼主有收获的成绩比较理想了,期待有更好的发挥
回复 支持 反对

使用道具 举报

278

主题

1万

回帖

4452

金币

金牌会员

积分
34776

老会员光影行者

发表于 2025-11-25 05:11 | 显示全部楼层
只要是能够赢钱,都是比较高兴的,希望以后都能有个好的结果了。
回复 支持 反对

使用道具 举报

1664

主题

8万

回帖

1万

金币

海燕硕士

积分
251232

万时之王老会员精华勋章勤奋勋章交易勋章光影行者

发表于 2025-11-25 06:20 | 显示全部楼层
可以赢钱的结果真是太给力了,还是要多多祝贺一下楼主成功收米的了。
回复 支持 反对

使用道具 举报

1664

主题

8万

回帖

1万

金币

海燕硕士

积分
251232

万时之王老会员精华勋章勤奋勋章交易勋章光影行者

发表于 2025-11-25 06:21 | 显示全部楼层
易天一人 发表于 2025-11-24 21:304 |4 q( K3 z# R2 S  D, m+ s
楼主有收获的成绩比较理想了,期待有更好的发挥

2 O& C9 t2 w' I) L. z还是非常理想的成绩,楼主是个很厉害的高手要跟着学习一下的。
回复 支持 反对

使用道具 举报

1664

主题

8万

回帖

1万

金币

海燕硕士

积分
251232

万时之王老会员精华勋章勤奋勋章交易勋章光影行者

发表于 2025-11-25 06:21 | 显示全部楼层
没牙的兔子 发表于 2025-11-25 05:11) `7 ^( l" m! O* i
只要是能够赢钱,都是比较高兴的,希望以后都能有个好的结果了。

% L0 c. [) P6 p, {6 ^9 }8 m- b能够赢钱的结果确实是很高兴的,希望是可以保持住这样的好运气吧 。
回复 支持 反对

使用道具 举报

1214

主题

3万

回帖

1355

金币

铂金用户

积分
96072

老会员交易勋章光影行者

 楼主| 发表于 2025-11-25 06:47 来自手机 | 显示全部楼层
易天一人 发表于 2025-11-24 21:30& f4 }0 _& U* E/ W
楼主有收获的成绩比较理想了,期待有更好的发挥
, K# c. v6 W/ V% m6 V, Q
今天的这个成绩的确是很不错的了,这也是感觉到运气很好的了
回复 支持 反对

使用道具 举报

1214

主题

3万

回帖

1355

金币

铂金用户

积分
96072

老会员交易勋章光影行者

 楼主| 发表于 2025-11-25 06:47 来自手机 | 显示全部楼层
没牙的兔子 发表于 2025-11-25 05:11. a7 \7 Y7 ^; R5 {
只要是能够赢钱,都是比较高兴的,希望以后都能有个好的结果了。
2 n- S& L  h" A: S  m
我们永远都是希望自己有一个好的结果的了,我们一定要加油的啦
回复 支持 反对

使用道具 举报

1214

主题

3万

回帖

1355

金币

铂金用户

积分
96072

老会员交易勋章光影行者

 楼主| 发表于 2025-11-25 06:47 来自手机 | 显示全部楼层
cwx1994 发表于 2025-11-25 06:20
" ?+ n9 }% j. T- H7 S& Z# ^( n6 ^- f可以赢钱的结果真是太给力了,还是要多多祝贺一下楼主成功收米的了。
9 x/ }! o. ~6 U8 w
这也不得不说是幸运的一件事情了,我们都是不断的努力之中的了
回复 支持 反对

使用道具 举报

1214

主题

3万

回帖

1355

金币

铂金用户

积分
96072

老会员交易勋章光影行者

 楼主| 发表于 2025-11-25 06:47 来自手机 | 显示全部楼层
cwx1994 发表于 2025-11-25 06:21
1 R6 f: ?# e- k" x1 r5 ~5 q/ q还是非常理想的成绩,楼主是个很厉害的高手要跟着学习一下的。

3 k2 H: M" B9 f6 Y0 _& J* B- H3 a高手谈不上的啦,大家还是彼此互相的学习一下吧
回复 支持 反对

使用道具 举报

1214

主题

3万

回帖

1355

金币

铂金用户

积分
96072

老会员交易勋章光影行者

 楼主| 发表于 2025-11-25 06:47 来自手机 | 显示全部楼层
cwx1994 发表于 2025-11-25 06:21
- r) W. D# K3 o! v1 }% l2 Q$ l: X) e能够赢钱的结果确实是很高兴的,希望是可以保持住这样的好运气吧 。
) o, b: b& z6 H# T! n
希望是可以保持的啦,不过我们心里也是要做好其他的思想准备的啦
回复 支持 反对

使用道具 举报

2623

主题

8万

回帖

3779

金币

海燕硕士

积分
233483

老会员超级精华精华勋章美女勋章勤奋勋章交易勋章万时之王

发表于 2025-11-25 07:35 | 显示全部楼层
能够赚个几十块钱以上很好的了玩游戏嘛都喜欢赚钱的钱
回复 支持 反对

使用道具 举报

2623

主题

8万

回帖

3779

金币

海燕硕士

积分
233483

老会员超级精华精华勋章美女勋章勤奋勋章交易勋章万时之王

发表于 2025-11-25 07:35 | 显示全部楼层
猴哥打野 发表于 2025-11-25 06:477 T' v# _+ e. e$ q" W
希望是可以保持的啦,不过我们心里也是要做好其他的思想准备的啦

# M$ Y* i/ A/ c, b0 x3 C+ q想要保持下去不是那么容易的事,我们也是希望有个好运
回复 支持 反对

使用道具 举报

2623

主题

8万

回帖

3779

金币

海燕硕士

积分
233483

老会员超级精华精华勋章美女勋章勤奋勋章交易勋章万时之王

发表于 2025-11-25 07:35 | 显示全部楼层
cwx1994 发表于 2025-11-25 06:21* d, V- P3 O) W, {) Y) J$ c
还是非常理想的成绩,楼主是个很厉害的高手要跟着学习一下的。
7 u! o$ L  p/ F
这次比较明显的话,要保持一下才能玩的长久呀
回复 支持 反对

使用道具 举报

1852

主题

6万

回帖

4368

金币

钻石用户

积分
181907

万时之王老会员勤奋勋章交易勋章

发表于 2025-11-25 07:57 | 显示全部楼层
没牙的兔子 发表于 2025-11-25 05:11; `5 _6 R+ R: E5 ~2 X( G) k
只要是能够赢钱,都是比较高兴的,希望以后都能有个好的结果了。
1 H9 X! K. I. X1 z# ^
这样的收入那是真的非常高兴的但是以后什么结果这个不好说的
  l* n2 C5 ~4 C: B
回复 支持 反对

使用道具 举报

您需要登录后才可以回帖 登录 | 立即注册

本版积分规则

广告合作|福利汇|论坛简介|钱包教程|手机版|小黑屋|Archiver|海燕论坛

快速回复 返回顶部 返回列表